15kV美式200A肘型插头
- 产品->电力电缆附件->1-35kV可分离连接器及配套产品
- 1-35kV可分离连接器及配套产品
产品特点
为全绝缘、全密封、全屏蔽,紧压装置保证了其使用的可靠性,相对于其它配置,结构尺寸更紧凑。
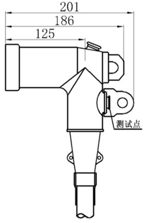
测试点可安装带电显示器或故障指示器,以便显示设备的带电状态和故障状态。
导电杆连接头内有灭弧材料,可作为负荷开关开断200A的电流,但不能切断故障电流。
屏蔽型插头的内外屏设计使得电场结构更加优化,均匀外屏蔽层,接地电阻小于5000Ω,有效地使电缆头外表面保持零电位,确保维护操作者的人身安全。
插头尾部与电缆之间用冷缩管收缩密封,有效地解决了电缆潮气入侵的问题,且安装方便。
型号:WAZT 15/200-□
电气性能
额定电压 | 15kV(8.3/14.4kV) |
额定电流 | 200A |
工频耐压(AC) | 39kV/5min |
局部放电 | 15kV,≤10pC |
冲击电压 (正负极性各10次) | 95kV |
开断电流 | 14.4kV,200A,10次操作 |
屏蔽电阻 | ≤5000Ω |
适用电缆截面 | 25-120mm2 |
注:该产品满足IEC 60502.4,IEEE-386及GB/T 12706.4要求 | |

产品型号说明

主要配件
插头外套、专用端子、验电点盖、专用扳手、导电杆、硅脂膏、密封管、清洁纸






